各园区管理办公室、各街办事处、区各部门和单位:
《武汉经开区(汉南区)政府信息依申请公开办理规范》已经管委会、区人民政府同意,现印发给你们,请认真遵照执行。
武汉经开区管委会(汉南区人民政府)办公室
2020年10月30日
(此件公开发布)
武汉经开区(汉南区)政府信息依申请公开办理规范
各行政机关的政府信息公开工作机构负责接收本机关的政府信息公开申请。本机关其他机构或人员收到政府信息公开申请的,应及时转交给政府信息公开工作机构。
各行政机关应当把“当面提交”“信函申请”“网络申请”作为政府信息公开申请的主要渠道。为进一步方便申请人,优化服务,也可拓展其他接收渠道,但一般不接受电话申请,特殊情况可甄别处理。
行政机关应当将本单位所开通的申请接收渠道及具体的使用注意事项,在政府信息公开指南中专门说明(说明应规范、明确),通过政府网站等途径向社会公布,对已经专门说明并公告的申请接收渠道承担相应法律义务。行政机关没有按照上述要求专门说明并公告的,应当充分尊重申请人的选择。
1.对申请人当面提交申请的,行政机关应尽可能安排在配备监控记录设备的固定场所接收。接收人员应文明礼貌地接待申请人,在查验申请人身份信息后,接收申请人提交的申请。对于委托申请的,应查验委托证明、委托人和受托人身份信息。申请人需要当场填写的,接收人员应提供政府信息公开申请表,指引申请人正确填写。申请人采用书面形式确有困难的,接收人员代为填写,并由申请人确认。接收人员接收申请后,应出具回执,写明接收日期和答复期限。
2.对申请人采取邮寄方式申请的,行政机关信件收发机构负责接收。对邮寄给政府信息公开工作机构的信件,政府信息公开工作机构及时取件,信件收发机构与政府信息公开工作机构应做好交接登记。对邮寄给行政机关或行政机关负责人的信息公开申请,信件处理人员应连同保留邮戳的信封,及时退信件收发机构,由信件收发机构转交政府信息公开工作机构,信件收发机构与信件处理人员、政府信息公开工作机构分别做好交接登记。
3.对申请人通过政府网站或电子邮件申请的,在申请人成功提交申请后,政府信息公开工作机构应在收到申请后,及时回复告知申请人答复期限。行政机关政府信息公开工作机构应及时查收电子邮箱信息。
4.对申请人采用传真等其他已开通渠道提交申请的,政府信息公开工作机构也应及时接收,并予以确认。
政府信息公开工作机构收到信息公开申请后,应及时登记,详细记载申请的主要信息,包括申请人姓名(名称)、联系方式、接收日期、申请方式、申请内容(名称、文号或描述)、答复期限、征求第三方意见日期、第三方答复日期、第三方答复主要意见、答复日期、主要答复意见、答复文书编号、行政复议结果、行政诉讼结果、送达方式等。
政府信息公开申请答复期限,自行政机关收到申请之日起计算。
申请人当面提交信息公开申请的,以提交之日为收到申请之日。
申请人以邮寄方式提交信息公开申请的,以行政机关签收之日为收到申请之日。申请人以平信等无需签收的邮寄方式提交申请的,或者将申请寄送至政府信息公开工作机构以外的机构或个人的,政府信息公开工作机构可在实际收到信息公开申请的当日电话联系申请人予以确认,并以确认之日为收到申请之日,申请人未提供联系电话或提供的联系电话无法接通的,政府信息公开工作机构应当做好登记,自恢复与申请人的联络之日启动处理程序并起算期限。
申请人通过政府信息依申请公开在线平台、电子邮箱提交信息公开申请的,以双方确认之日为收到申请之日,政府信息公开工作机构应建立工作机制,及时查收在线平台或电子邮箱申请。
申请人通过行政机关的传真提交政府信息公开申请的,以传真收到并双方确认之日为收到申请之日。
当申请人提交的政府信息公开申请内容不明确、不完备或存在其他要素欠缺时,行政机关应当告知申请人作出更改、补充,进行补正。
符合以下五种条件之一时,行政机关应告知申请人作出补正:一是申请内容不明确,需要申请人进一步补充说明的;二是申请公开的政府信息的形式要求不明确,包括未明确获取信息的方式、途径等;三是申请人身份信息、联系方式不明确,影响信息提供或答复书送达的;四是委托申请未能提供委托书、委托人及受托人证件信息的;五是申请人申请公开政府信息的数量、频次明显超过合理范围,需要申请人说明理由的。
行政机关需要申请人补正时,应在收到申请之日起7个工作日内一次性告知申请人需要补正的事项、合理的补正期限、拒绝补正后果。补正告知应以书面告知为主,采用其他方式能达到补正告知效果的,应及时留存记录。
1.对要求邮寄送达但未提供联系方式、邮寄地址,或者要求电子邮件送达但未提供电子邮箱,以及未提供身份证明的,行政机关告知申请人提供相关材料;
2.对申请的政府信息特征性描述无法指向特定信息、理解有歧义,或者涉及咨询事项的,行政机关告知申请人作出更改、补充,并对需要补正的理由和内容作出指导与释明;
3.未明确公开政府信息获取方式和途径的,行政机关可要求申请人予以明确;
4.给予申请人的合理补正期限可参照征求第三方意见时间,一般不超过15个工作日;
5.政府信息公开申请答复期限从收到申请人补正材料之日起计算,申请人无正当理由逾期不补正的,视为放弃申请,行政机关不再处理该政府信息公开申请。
6.补正原则上不超过一次,申请人补正后仍然无法明确申请内容的,行政机关可以通过与申请人当面或者电话沟通等方式明确其所需获取的政府信息;此后仍达不到补正效果的,可依据客观事实作出无法提供决定。申请人放弃补正后,行政机关对该政府信息公开申请不再处理。
申请人对事实清楚的政府信息提出公开申请时,可由政府信息公开工作机构提出拟答复意见,报有关负责人审签后即可答复申请人。
根据申请人申请的内容,需要本级相关部门或下级行政机关提出拟答复意见的,由政府信息公开工作机构负责人同意后,在1个工作日内转相关部门或下级行政机关。相关部门或下级行政机关在7个工作日内将拟答复意见提交政府信息公开工作机构,拟答复意见应加盖单位公章,注明经办人及联系方式。
根据申请人申请的内容,需要本机关其他内设科室提出拟答复意见的,由政府信息公开工作机构负责人同意后,在1个工作日内转相关科室,相关科室在收到转办内容起7个工作日内将经业务分管负责人同意的拟答复意见提交政府信息公开工作机构。
政府信息公开工作机构收到情况复杂或者可能涉及国家安全、公共安全、经济安全和社会稳定的政府信息公开申请后,应及时向有关负责人报告,根据要求会同相关单位及法律顾问会商研究答复意见。必要时由本机关有关负责人协调会商,研究确定答复意见。
政府信息公开工作机构认为申请公开的政府信息公开后可能损害第三方合法权益或涉及其他机关权利的,应当经政府信息公开工作机构负责人同意,书面征求第三方或其他机关意见,同时书面告知申请人。第三方或其他机关应当自收到征求意见书之日起15个工作日内提出意见。第三方或其他机关逾期未提出意见的,由政府信息公开工作机构依照相关规定决定是否公开;第三方或其他机关不同意公开且有合理理由的,行政机关不予公开;但行政机关认为不公开可能对公共利益造成重大影响的,可以公开,并将决定公开的政府信息内容和理由书面告知第三方或其他机关。行政机关征求第三方或其他机关意见所需时间不计算在答复期限内。
政府信息公开工作机构对拟公开的政府信息应当依照《中华人民共和国保守国家秘密法》以及其他法律、法规和国家有关规定对拟公开的政府信息进行审查,对拟答复意见进行审核。依据有关法律法规,对申请是否有效、信息是否应该公开、公开后可能带来的影响等进行综合分析,研究提出处理意见。对相关部门单位提出的存在明显瑕疵的拟答复意见,政府信息公开工作机构应要求其说明理由或修改完善。
政府信息公开工作机构起草答复书,报有关负责人审签。信息公开答复是正式的行政行为,一般应采取书面形式。行政机关应当严格按照《条例》规定的方式做出答复。
答复书应具备以下要素:标题、文号、申请人姓名(名称)、申请事实、答复结果(属于不予公开范围的,应当说明理由)、申请人申请行政复议和行政诉讼的权利和期限、向政府信息公开工作主管部门举报投诉的权利、答复主体、答复日期及印章。答复书应明确告知申请人复议、诉讼机关名称。
政府信息公开工作机构应当自收到申请之日起20个工作日内予以答复;需延长答复期限的,应当经政府信息公开工作机构负责人同意并书面告知申请人,延长答复的期限最长不超过20个工作日。
采取直接送达的,行政机关应查验申请人的身份证明(对于委托他人领取的,应查验委托证明、委托人和受托人身份证明),如实登记领取人的个人信息,制作现场签收记录。
采取邮寄方式送达的,行政机关应通过邮政企业送达,不得通过不具有国家公文寄递资格的其他快递企业送达。寄送的信封上需注明“政府信息公开申请答复书”。
申请人要求以电子邮件或政府网站在线答复的,行政机关应上传加盖印章的答复书扫描件或拍摄的彩色图片作为附件。
采取直接送达、委托其他行政机关代为送达等方式送达的,以申请人及其法定代理人签收之日当日为期限计算时点。采取邮寄送达方式送达的,以交邮之日当日为期限计算时点。采用电子送达的,送达日期以网络系统发出之日当日为期限计算时点。
对采取直接送达、委托其他行政机关代为送达、邮寄送达等方式,联系不上申请人(委托申请人)或申请人(委托申请人)拒收等情形,政府信息公开工作机构应保留好相关记录并存档。
由政府信息公开申请引起的行政复议和行政诉讼,行政机关应主动参与相应的答复和应诉工作,加强与相关部门协调。对行政复议案件,行政机关应在规定时间内提交《行政复议答复书》和相关证据证明。对行政诉讼案件,行政机关应按要求准备相关答辩及证据材料,积极配合司法局或咨询法律顾问做好应诉工作。
存档材料包括:政府信息公开申请表原件(含信封);申请人身份证明材料;申请人提供的其他材料;接收回执;补正告知书;第三方意见征询书;办理单;其他行政机关的协办意见;司法局会签意见或法律顾问咨询建议书;答复书及附件材料;邮寄单据(含挂号信凭证、挂号信回执单、EMS邮寄单等)及相关签收单据;文件查阅和借阅记录等材料。
政府信息公开工作机构应当配置扫描仪等必要设备,将案卷材料制成电子档案,实现对案卷材料电子化保存,有条件的可在系统办理平台中设计电子化保存文档;对于纸质原件材料,应当按照日期和文号进行编号装卷,确保储存环境良好。因复议、诉讼或研究需要,可以按照索引快速查找卷宗。
政府信息公开工作机构应定期汇总、统计政府信息依申请公开情况。有条件的可在依申请公开办理平台设置自动统计功能,加强依申请公开办理数据的分析和运用,促进行政机关依法行政,促进依申请公开向主动公开转变。
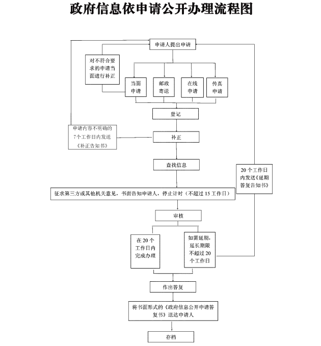
附件:1.政府信息依申请公开办理流程图
2.政府信息公开申请办理答复格式文书
附件1
政府信息依申请公开办理流程图

附件2
政府信息公开申请办理答复格式文书
一、程序处理文书
1.政府信息公开申请接受回执
2.政府信息公开申请补正告知书
3.延期答复告知书
4.征求第三方意见告知书(给第三方)
5.征求第三方意见告知书(给申请人)
6.政府信息依申请公开第三方告知书(给第三方)
7.征求意见函(共同制作机关)
二、实体处理文书
1.予以公开答复书(已对外公开)
2.予以公开答复书(答复回执)
3.予以公开答复书(近期内对外公开)
4.不予公开答复书(国家秘密类豁免)
5.不予公开答复书(法律、行政法规禁止类豁免)
6.不予公开答复书(三安全一稳定类豁免)
7.不予公开答复书(第三方合法权益保护类豁免)
8.不予公开答复书(三类内部事务信息)
9.不予公开答复书(四类过程性信息)
10.不予公开答复书(行政执法案卷)
11.不予公开答复书(行政查询事项)
12.无法提供答复书(本机关不掌握相关政府信息)
13.无法提供答复书(没有现成信息需要另行制作)
14.无法提供答复书(补正后申请内容仍不明确)
15.不予处理答复书(信访、举报、投诉等诉求类申请)
16.不予处理答复书(重复申请)
17.不予处理答复书(要求提供公开出版物)
18.不予处理答复书(要求行政机关确认或者重新出具已获取信息)
19.不予公开答复书(党务信息)
1.政府信息公开申请接受回执(一式两份)
政府信息公开申请接收回执
年第 号
(申请人姓名或者单位名称):
您(你单位)于 年 月 日通过当面申请方式向本机关提出 份政府信息公开申请,申请获取
信息。
您(你单位)提交的材料有
。
根据《政府信息公开条例》第三十三条的规定,本机关将于
年 月 日起20个工作日内作出答复,如需延期答复,本机关将依法告知。办理进度查询电话: 。
申请人签名:
行政机关名称
(印章)
年 月 日
2.政府信息公开申请补正告知书
依告〔20 〕第 号
政府信息公开申请补正告知书
(申请人姓名或者单位名称):
本机关于 年 月 日收到您(你单位)通过□在线□信函□传真 □当面□ 提交的《政府信息公开申请书》。
经审查,您提交的政府信息公开申请不符合《政府信息公开条例》第二十九条的规定,需要补正下列内容:
□申请公开的内容不明确,(本机关指导和释明)请补充修改《政府信息公开申请书》并重新提交;
□缺少身份证明,请补充提交身份证明复印件(□委托证明材料等);
□缺少申请公开政府信息的形式要求,请补充修改《政府信息公开申请书》并重新提交。
根据《政府信息公开条例》第三十条的规定,请您(单位)在
年 月 日前补正相关内容。逾期未补正的,视为放弃申请。
行政机关名称
(印章)
年 月 日
3.延期答复告知书
依告〔20 〕第 号
政府信息公开申请延期答复告知书
(申请人姓名或者单位名称):
本机关于 年 月 日收到您(你单位)通过□在线□信函□传真□当面□ 提交的《政府信息公开申请书》,根据《政府信息公开条例》第三十三条的规定,本机关将延期答复,延长期限不超过20个工作日。
感谢对政府信息公开工作的理解和支持。
行政机关名称
(印章)
年 月 日
4.征求第三方意见告知书(给第三方)
依告〔20 〕第 号
政府信息公开申请征求第三方意见告知书
(第三方姓名或者单位名称):
本机关于 年 月 日收到(申请人姓名/名称)提交的关于
的政府信息公开申请。
因申请人申请公开的政府信息可能涉及您(你单位)的合法权益,根据《政府信息公开条例》第三十二条的规定,现就是否向申请人公开该政府信息书面征求意见,请于收到本告知15个工作日内填写并回复《政府信息公开申请征求意见确认函》,供本机关依据《政府信息公开条例》有关规定处理。
联系地址: ;邮政编码: ;
联系电话: ;传真: 。
感谢对政府信息公开工作的理解和支持。
行政机关名称
(印章)
年 月 日
政府信息公开申请征求意见确认函
(行政机关名称):
我(我单位)于 年 月 日收到你机关《政府信息公开申请征求第三方意见告知书》( 依告〔20 〕第 号)。我(我单位)□同意向申请人提供该政府信息。
□同意作区分处理后向申请人提供该政府信息,相关意见材料附后(需指明不予公开部分,并书面说明原因)。
□不同意向申请人提供该政府信息,相关意见材料附后(需书面说明不同意公开的原因)。
联系地址: ;邮政编码: ;
联系电话: ;传真: 。
复函人:
(个人签字/单位盖章)
年 月 日
5.征求第三方意见告知书(给申请人)
依告〔20 〕第 号
政府信息公开申请征求第三方意见告知书
(申请人姓名或名称):
本机关于 年 月 日收到您(你单位)□在线□信函□传真□当面□ 向本机关提交的《政府信息公开申请书》。
经审查,您(你单位)申请公开的政府信息可能涉及第三方的合法权益,根据《政府信息公开条例》第十五条、第三十二条、第三十三条的规定,本机关于 年 月 日征求第三方意见,征求第三方意见所需时间不计算在答复期限内。
行政机关名称
(印章)
年 月 日
6.政府信息依申请公开第三方告知书(给第三方)
依告〔20 〕第 号
政府信息依申请公开第三方告知书
(第三方姓名或者单位名称):
本机关已于 年 月 日收到您(你单位)回复的《政府信息公开申请征求意见确认函》。经审查,本机关认为该政府信息不公开可能会对公共利益造成重大影响,根据《政府信息公开条例》第十五条、第三十二条的规定,本机关决定予以公开,公开内容附后。
如对本告知不服,可以在收到本告知之日起60日内向 人民政府或者 部门申请行政复议,或者在6个月内向 人民法院提起行政诉讼。
感谢对政府信息公开工作的理解和支持。
行政机关名称
(印章)
年 月 日
7.征求意见函(共同制作机关)
依告〔20 〕第 号
政府信息公开申请征求意见函
(被征求意见机关):
(申请人姓名/单位名称)向本机关申请公开的 政府信息,经审查,该政府信息由你单位共同制作。
根据《政府信息公开条例》第三十四条的规定,现征求你单位意见,请在收到本征求意见函后研究提出意见,于15个工作日内书面回复,如不同意公开请说明理由。逾期未回复的视为同意公开。
联系人: ;联系电话: ;
传真: 。
行政机关名称
(印章)
年 月 日
1.予以公开答复书(已对外公开)
依复〔20 〕第 号
政府信息公开申请答复书
(申请人姓名或者单位名称):
本机关于 年 月 日收到您(你单位)通过□在线□信函□传真 □当面□ 提交的《政府信息公开申请书》。
您(你单位)申请公开的 本机关已通过(政府信息具体发布网址)对外公开,请您自行查阅、获取。根据《政府信息公开条例》第三十六条第(一)项的规定,现予告知。
如对本答复不服,可以在收到本答复之日起60日内向 人民政府或者 部门申请行政复议,或者在6个月内向 人民法院提起行政诉讼。
行政机关名称
(印章)
年 月 日
2.予以公开答复书(答复回执)
依复〔20 〕第 号
政府信息公开申请答复书
(申请人姓名或者单位名称):
本机关于 年 月 日收到您(你单位)通过□在线□信函□传真 □当面□ 提交的《政府信息公开申请书》。
经审查,您(你单位)申请公开的 本机关予以公开,根据《政府信息公开条例》第三十六条第(二)项的规定,本机关将该政府信息提供给您(复印件附后)。
如对本答复不服,可以在收到本答复之日起60日内向 人民政府或者 部门申请行政复议,或者在6个月内向 人民法院提起行政诉讼。
行政机关名称
(印章)
年 月 日
3.予以公开答复书(近期内对外公开)
依复〔20 〕第 号
政府信息公开申请答复书
(申请人姓名或者单位名称):
本机关于 年 月 日收到您(你单位)通过□在线□信函□传真 □当面□ 提交的《政府信息公开申请书》。
您(你单位)申请公开的 本机关将于近期内主动公开,您可通过 (获取的方式、途径和时间) 获取。根据《政府信息公开条例》第三十六条第(二)项的规定,现予告知。
如对本答复不服,可以在收到本答复之日起60日内向 人民政府或者 部门申请行政复议,或者在6个月内向 人民法院提起行政诉讼。
行政机关名称
(印章)
年 月 日
4.不予公开答复书(国家秘密类豁免)
依复〔20 〕第 号
政府信息公开申请答复书
(申请人姓名或者单位名称):
本机关于 年 月 日收到您(你单位)通过□在线□信函□传真□当面□ 提交的《政府信息公开申请书》。
经审查,您(你单位)申请公开的信息属于国家秘密,根据《政府信息公开条例》第十四条、第三十六条第(三)项的规定,本机关决定不予公开。
如对本答复不服,可以在收到本答复之日起60日内向 人民政府或者 部门申请行政复议,或者在6个月内向 人民法院提起行政诉讼。
行政机关名称
(印章)
年 月 日
5.不予公开答复书(法律、行政法规禁止类豁免)
依复〔20 〕第 号
政府信息公开申请答复书
(申请人姓名或者单位名称):
本机关于 年 月 日收到您(你单位)通过□在线□信函□传真□当面□ 提交的《政府信息公开申请书》。
经审查,您(你单位)申请公开的关于 的政府信息,根据 《(特别法律、行政法规)》 和《政府信息公开条例》第十四条、第三十六条第(三)项的规定,本机关决定不予公开。
如对本答复不服,可以在收到本答复之日起60日内向 人民政府或者 部门申请行政复议,或者在6个月内向 人民法院提起行政诉讼。
行政机关名称
(印章)
年 月 日
6.不予公开答复书(三安全一稳定类豁免)
依复〔20 〕第 号
政府信息公开申请答复书
(申请人姓名或者单位名称):
本机关于 年 月 日收到您(你单位)通过□在线□信函□传真□当面□ 提交的《政府信息公开申请书》。
经审查,您(你单位)申请公开的 ,公开后可能危及□国家安全□公共安全□经济安全□社会稳定,根据《政府信息公开条例》第十四条、第三十六条第(三)项的规定,本机关决定不予公开。
如对本答复不服,可以在收到本答复之日起60日内向 人民政府或者 部门申请行政复议,或者在6个月内向 人民法院提起行政诉讼。
行政机关名称
(印章)
年 月 日
7.不予公开答复书(第三方合法权益保护类豁免)
依复〔20 〕第 号
政府信息公开申请答复书
(申请人姓名或者单位名称):
本机关于 年 月 日收到您(你单位)通过□在线□信函□传真□当面□ 提交的《政府信息公开申请书》。
您(你单位)申请公开的 ,涉及□商业秘密□个人隐私,经征求第三方意见和审查,该政府信息公开后会损害第三方合法权益,根据《政府信息公开条例》第三十二条、三十六条第(三)项的规定,本机关决定不予公开。
您(你单位)申请公开的 ,涉及□商业秘密□个人隐私,经征求第三方意见,第三方同意公开。经审查,根据《政府信息公开条例》第三十二条、第三十六条第(二)项的规定,现提供给您(复印件附后)。
您(你单位)申请公开的 ,涉及□商业秘密□个人隐私,经征求第三方意见,第三方不同意公开。经审查,本机关认为不公开可能会对公共利益造成重大影响,根据《政府信息公开条例》第三十二条、第三十六条第(二)项的规定,决定予以公开,现提供给您(复印件附后)。
您(你单位)申请公开的 ,涉及□商业秘密□个人隐私,经征求第三方意见,第三方同意部分公开。经审查,根据《政府信息公开条例》第三十二条、第三十六条第(二)项、第三十七条的规定,现作区分处理后将可以公开的信息提供给您(复印件附后)。
如对本答复不服,可以在收到本答复之日起60日内向 人民政府或者 部门申请行政复议,或者在6个月内向 人民法院提起行政诉讼。
行政机关名称
(印章)
年 月 日
8.不予公开答复书(三类内部事务信息)
依复〔20 〕第 号
政府信息公开申请答复书
(申请人姓名或者单位名称):
本机关于 年 月 日收到您(你单位)通过□在线□信函□传真□当面□ 提交的《政府信息公开申请书》。
经审查,您(你单位)申请公开的 ,属于本机关的□人事管理□后勤管理□内部工作流程 信息,根据《政府信息公开条例》第十六条第一款、第三十六条第(三)项的规定,本机关决定不予公开。
如对本答复不服,可以在收到本答复之日起60日内向 人民政府或者 部门申请行政复议,或者在6个月内向 人民法院提起行政诉讼。
行政机关名称
(印章)
年 月 日
9.不予公开答复书(四类过程性信息)
依复〔20 〕第 号
政府信息公开申请答复书
(申请人姓名或者单位名称):
本机关于 年 月 日收到您(你单位)通过□在线□信函□传真□当面□ 提交的《政府信息公开申请书》。
经审查,您(你单位)申请公开的 ,属于本机关在履行行政管理职能过程中形成的□讨论记录□过程稿□磋商信函□请示报告,根据《政府信息公开条例》第十六条第二款、第三十六条第(三)项的规定,本机关决定不予公开。
如对本答复不服,可以在收到本答复之日起60日内向 人民政府或者 部门申请行政复议,或者在6个月内向 人民法院提起行政诉讼。
行政机关名称
(印章)
年 月 日
10.不予公开答复书(行政执法案卷)
依复〔20 〕第 号
政府信息公开申请答复书
(申请人姓名或者单位名称):
本机关于 年 月 日收到您(你单位)通过□在线□信函□传真□当面□ 提交的《政府信息公开申请书》。
经审查,您(你单位)申请公开的 ,属于本机关在履行行政管理职能过程中形成的行政执法案卷信息,根据《政府信息公开条例》第十六条第二款、第三十六条第(三)项的规定,本机关决定不予公开。
如对本答复不服,可以在收到本答复之日起60日内向 人民政府或者 部门申请行政复议,或者在6个月内向 人民法院提起行政诉讼。
行政机关名称
(印章)
年 月 日
11.不予公开答复书(行政查询事项)
依复〔20 〕第 号
政府信息公开申请答复书
(申请人姓名或者单位名称):
本机关于 年 月 日收到您(你单位)通过□在线□信函□传真□当面□ 提交的《政府信息公开申请书》。
经审查,您(你单位)申请公开的 ,属于工商、不动产登记资料等信息,□有关法律、行政法规□特别法律、行政法规名称对该信息的获取有特别规定。根据《政府信息公开条例》第三十六条第(七)项的规定,请您依照□有关法律、行政法规□特别法律、行政法规名称的规定办理。
如对本答复不服,可以在收到本答复之日起60日内向 人民政府或者 部门申请行政复议,或者在6个月内向 人民法院提起行政诉讼。
行政机关名称
(印章)
年 月 日
12.无法提供答复书(本机关不掌握相关政府信息)
依复〔20 〕第 号
政府信息公开申请答复书
(申请人姓名或者单位名称):
本机关于 年 月 日收到您(你单位)通过□在线□信函□传真□当面□ 提交的《政府信息公开申请书》。
经检索查找,您(你单位)申请公开的 不存在,根据《政府信息公开条例》第三十六条第(四)项的规定,现予告知。
如对本答复不服,可以在收到本答复之日起60日内向 人民政府或者 部门申请行政复议,或者在6个月内向 人民法院提起行政诉讼。
行政机关名称
(印章)
年 月 日
依复〔20 〕第 号
政府信息公开申请答复书
(申请人姓名或者单位名称):
本机关于 年 月 日收到您(你单位)通过□在线□信函□传真□当面□ 提交的《政府信息公开申请书》。
经审查,您(你单位)申请公开的 ,本机关不掌握。据初步判断,(机关名称)可能掌握相关信息,根据《政府信息公开条例》第三十六条第(五)项的规定,建议您(你单位)依法向相关单位了解获取该信息,联系地址: ,联系电话: 。
如对本答复不服,可以在收到本答复之日起60日内向 人民政府或者 部门申请行政复议,或者在6个月内向 人民法院提起行政诉讼。
行政机关名称
(印章)
年 月 日
13.无法提供答复书(没有现成信息需要另行制作)
依复〔20 〕第 号
政府信息公开申请答复书
(申请人姓名或者单位名称):
本机关于 年 月 日收到您(你单位)通过□在线□信函□传真□当面□ 提交的《政府信息公开申请书》。
经审查,您(你单位)申请公开的 不是本机关已制作或者获取的政府信息,需要本机关对现有政府信息进行加工、分析,根据《政府信息公开条例》第三十八条的规定,本机关不予提供。
如对本答复不服,可以在收到本答复之日起60日内向 人民政府或者 部门申请行政复议,或者在6个月内向 人民法院提起行政诉讼。
行政机关名称
(印章)
年 月 日
14.无法提供答复书(补正后申请内容仍不明确)
依复〔20 〕第 号
政府信息公开申请答复书
(申请人姓名或者单位名称):
本机关于 年 月 日收到您(你单位)通过□在线□信函□传真□当面□ 提交的《政府信息公开申请书》。本机关于于 年 月 日通知您(你单位)补正,您(你单位)于 年 月 日提交补正材料。
经审查,补正后仍不明确,本机关无法提供。
如对本答复不服,可以在收到本答复之日起60日内向 人民政府或者 部门申请行政复议,或者在6个月内向 人民法院提起行政诉讼。
行政机关名称
(印章)
年 月 日
15.不予处理答复书(信访、举报、投诉等诉求类申请)
依复〔20 〕第 号
政府信息公开申请答复书
(申请人姓名或者单位名称):
本机关于 年 月 日收到您(你单位)通过□在线□信函□传真□当面□ 提交的《政府信息公开申请书》。
经审查,您(你单位)提交的 的政府信息公开申请,属于 □信访 □投诉 □举报事项,根据《政府信息公开条例》第三十九条第一款的规定,本机关不作为政府信息公开申请处理。您(你单位)可以通过□信访□相应渠道提出。
如对本答复不服,可以在收到本答复之日起60日内向 人民政府或者 部门申请行政复议,或者在6个月内向 人民法院提起行政诉讼。
行政机关名称
(印章)
年 月 日
16.不予处理答复书(重复申请)
依复〔20 〕第 号
政府信息公开申请答复书
(申请人姓名或者单位名称):
本机关于 年 月 日收到您(你单位)通过□在线□信函□传真□当面□ 提交的《政府信息公开申请书》。
经审查,您(你单位)提交的 的政府信息公开申请,本机关已于 年 月 日作出《政府信息公开申请答复书》( 依复〔20 〕第 号)。根据《政府信息公开条例》第三十六条第(六)项的规定,本机关不予重复处理。
如对本答复不服,可以在收到本答复之日起60日内向 人民政府或者 部门申请行政复议,或者在6个月内向 人民法院提起行政诉讼。
行政机关名称
(印章)
年 月 日
17.不予处理答复书(要求提供公开出版物)
依复〔20 〕第 号
政府信息公开申请答复书
(申请人姓名或者单位名称):
本机关于 年 月 日收到您(你单位)通过□在线□信函□传真□当面□ 提交的《政府信息公开申请书》。
经审查,您(你单位)提交的 的政府信息公开申请,要求本机关提供□政府公报□报刊□书籍,根据《政府信息公开条例》第三十九条第二款的规定,您(你单位)可以通过 途径 获取。
如对本答复不服,可以在收到本答复之日起60日内向 人民政府或者 部门申请行政复议,或者在6个月内向 人民法院提起行政诉讼。
行政机关名称
(印章)
年 月 日
18.不予处理答复书(要求行政机关确认或者重新出具已获取信息)
依复〔20 〕第 号
政府信息公开申请答复书
(申请人姓名或者单位名称):
本机关于 年 月 日收到您(你单位)通过□在线□信函□传真□当面□ 提交的《政府信息公开申请书》。
经审查,您(你单位)提交的 的政府信息公开申请,要求本机关□确认□重新出具您(你单位)已获取的信息,本机关不予处理。
如对本答复不服,可以在收到本答复之日起60日内向 人民政府或者 部门申请行政复议,或者在6个月内向 人民法院提起行政诉讼。
行政机关名称
(印章)
年 月 日
19.不予公开答复书(党务信息)
依复〔20 〕第 号
政府信息公开申请答复书
(申请人姓名或者单位名称):
本机关于 年 月 日收到您(你单位)通过□在线□信函□传真□当面□ 提交的《政府信息公开申请书》。
您(你单位)申请公开的 适用《中国共产党党务公开条例(试行)》,本机关不予公开,特此告知。
如对本答复不服,可以在收到本答复之日起60日内向 人民政府或者 部门申请行政复议,或者在6个月内向 人民法院提起行政诉讼。
行政机关名称
(印章)
年 月 日
主办单位:好博·(中国)体育股份有限公司网站
承办单位:武汉经济技术开发区(汉南区)城市运行管理中心
备案证编号:鄂ICP备2022016438号-1©1997- 版权所有
鄂公网安备 42011302000122号 网站标识码:4201130014